The Ladder belt with S-hooks run in straight applications but can also be executed as curved belts with a fixed inside radius. A belt variation with a tapered rod pitch assembly can be used in radial applications (90 and 180 degrees).




Ladder Conveyor Belt Advantages:
• Flat uniform surface for gentle product handling
• High tensile rods which resist permanent distortion and reduce down-time
• Positive drive to ensure there are no tracking issues
• Smooth edges for easy movement around radial bends
• Easy belt assembly and disassembly due to its simple open construction.


Belt Types

Ladder belt with S-shaped hooks
These belts run in straight applications but can also be executed as curved belts with a fixed inside radius, available in right hand (clockwise) or left hand (ant-clockwise) arrangement. Standard belts are supplied for either 90° or 180° conveyor angle of operation.

Ladder belt with U-shaped links
These belts can run in straight and curved applications, available in right hand (clockwise) or left hand (ant-clockwise) arrangement. Standard belts are supplied for either 90° or 180° conveyor angle of operation.

Ladder belt with chain links
These belts can be only running in straight applications.
Material Availability
The Ladder belt is standard made of steel, mid-tensile carbon steel, stainless steel 304 and 316. Other materials on demand.
Specifications

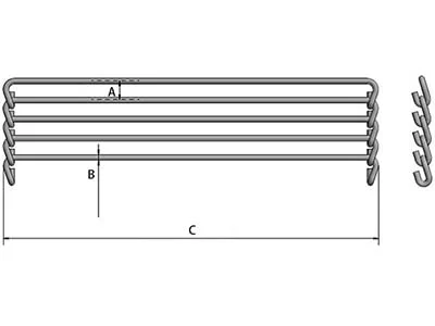
A: Pitch (mm) B: Rod diameter (mm) C: Overall Width (mm)
Specifications of Straight Running Ladder Belt | |||
Item No. | Pitch (mm) | Rod diameter (mm) | Maximum width (mm) |
SRLB01 | 12.7 | 3.66 | 762 |
SRLB02 | 15.87 | 4.47 | 914 |
SRLB03 | 19.05 | 4.88 | 914 |
SRLB04 | 25.4 | 4.88 | 914 |

A: Pitch (mm) B: Rod diameter (mm) C: Inside Radius (mm) D: Overall Width (mm)
Specifications of Radial Ladder Belt | ||||
Item No. | Pitch (mm) | Rod diameter (mm) | Inside Radius (mm) | Available width (mm) |
RLB01 | 12.7 | 3.66 | 598.5 | 229/305/381/457/762 |
RLB02 | 15.87 | 4.47 | 762 | 305/381/457/610/762 |
Ladder belts are used in, for example:
● Cooling systems in for example bread & pastry industry.
● Belt in filtering installations
● Conveyor belt in installations for baking, frying, grilling, etc.
● When executed as a” batter-belt” (with bar links in order to strengthen and lateral chains)
● Washing systems
● Drying systems

Ladder conveyor belt for Grading

Ladder conveyor belt for Baking
Facing challenges with high-temperature conveying? Contact us now.
Our engineers will provide you with expert product consultation and tailored solutions.
Sign up
for our Newsletter
Subscribe to the weekly newsletter for all the latest updates